SALTEK A05093 FLP-B+C MAXI V/3 Zvodic prepätia
Kód: 6683Podrobný popis
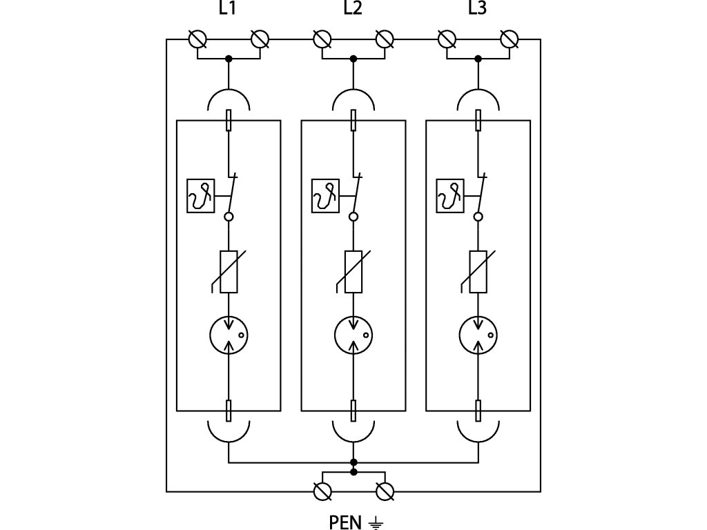
SALTEK A05093 Zvodič prepätia FLP-B+C MAXI V/3
- vyberateľný modul
- optická signalizácia poruchy
- možnosť blokácie modulu
- trojpólový výkonný kombinovaný zvodič bleskových prúdov
- určený k inštalácii do rozvodov nn
- na rozhraní zón LPZ 0 a LPZ 1
- predovšetkým do hlavných rozvádzačov
- k ochrane proti účinkom prepätia pri priamom i nepriamom údere blesku
- vhodný pre rodinné domy, administratívne a priemyselné objekty, popr. do podružných rozvádzačov rozľahlých objektov.
Technické parametre:
| Typ SPD: | T1,T2 | |
| Montáž: | lišta DIN 35 mm | |
| Menovité napätie: | Un | 230 V AC |
| Najvyššie trvalé prevádzkové napätie: | Uc | 260,00 V AC |
| Menovitý zaťažovací prúd pre V zapojenie: | IL | 125 A |
| Typ siete: | TN-C | |
| Maximálne predistenie: | 250 A gL/gG | |
| Maximálne predistenie pre V zapojenie: | 125 A gL/gG | |
| Menovitý skratový prúd: | ISCCR | 50,0 kA |
| Celkový výbojový prúd (10/350 µs): | ITotal(10/350) | 75,00 kA |
| Impulzný výbojový prúd (10/350 µs): | Iimp | 25,00 kA |
| Menovitý výbojový prúd (8/20 µs): | In | 30,00 kA |
| Maximálny výbojový prúd (8/20 µs): | Imax | 60,00 kA |
| Napäťová ochranná hladina: | Up | 1,50 kV |
| Reziduálne napätie MOV pri In: | URES | 0,85 kV |
| Doba odozvy: | ta | 100 ns |
| TOV 5 s L-N: | 335 V | |
| TOV charakteristika (TOV 5 s): | výdržný | |
| TOV 120 min L-N: | 440 V | |
| TOV charakteristika (120 min): | výdržný | |
| Prierez pripojovaných vodičov pevný (min): | 2,50 mm2 | |
| Prierez pripojovaných vodičov pevný (max): | 50,00 mm2 | |
| Prierez pripojovaných vodičov lanový (min): | 2,50 mm2 | |
| Prierez pripojovaných vodičov lanový (max): | 35,00 mm2 | |
| Signalizácia poruchy: | červené sfarbenie indikačného poľa | |
| Stupeň krytia: | IP 20 | |
| Rozsah prevádzkových teplôt (min/max): | -40 / 80 °C | |
| Rozsah vlhkosti: | 5 - 95 % | |
| Spĺňa požiadavky normy: | STN EN 61643-11:2013-08 | |
| Trieda ETIM: | EC001457 | |
| Náhradný modul: | FLP-B+C MAXI V/0 |
Dodatočné parametre
| Kategória: | SALTEK |
|---|---|
| EAN: | 8595090550938 |
Hodnotenie tovaru
Buďte prvý, kto napíše príspevok k tejto položke.
Len registrovaní používatelia môžu pridávať hodnotenie. Prosím prihláste sa alebo sa zaregistrujte.
Diskusia
Buďte prvý, kto napíše príspevok k tejto položke.
Len registrovaní používatelia môžu pridávať príspevky. Prosím prihláste sa alebo sa zaregistrujte.
| Výrobná spoločnosť : | SALTEK Slovakia s.r.o. |
|---|---|
| Adresa : | SALTEK Slovakia s.r.o. Kutlíkova 17 851 02 Bratislava |
| E-mail : | info@saltek.sk |



